Product Summary
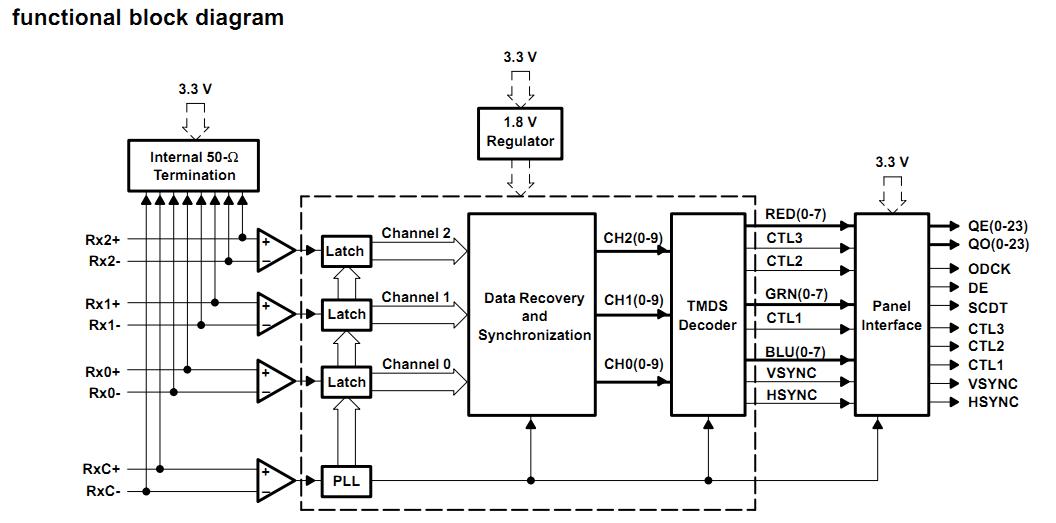
The TFP401APZP is an end-to-end DVI 1.0 compliant solution. Targeted primarily at desktop LCD monitors and digital projectors, the TFP401APZP finds applications in any design requiring high-speed digital interface. The device supports display resolutions up to UXGA in 24-bit true color pixel format. The TFP401APZP offers design flexibility to drive one or two pixels per clock, supports TFT or DSTN panels, and provides an option for time staggered pixel outputs for reduced ground bounce.
Parametrics
TFP401APZP absolute maximum ratings: (1)Supply voltage range, DVDD, AVDD, OVDD, PVDD: -0.3 V to 4 V; (2)Input voltage range, logic/analog signals: -0.3 V to 4 V; (3)Operating ambient temperature range: 0 to 70℃; (4)Storage temperature rang:e -65 to 150℃; (5)Case temperature for 10 seconds: 260℃; (6)Lead temperature 1,6 mm (1/16 inch) from case for 10 seconds: 260℃; (7)Package power dissipation/PowerPAD: Soldered: 4.3 W; (8)Not soldered: 2.7 W; (9)ESD Protection, all pins: 2.5 KV Human Body Model; (10)JEDEC latchup: 100 mA.
Features
TFP401APZP features: (1)Supports UXGA Resolution (Output Pixel Rates Up to 165 MHz); (2)Digital Visual Interface (DVI) Specification Compliant; (3)True-Color, 24 Bit/Pixel, 16.7M Colors at 1 or 2-Pixels Per Clock; (4)Laser Trimmed Internal Termination Resistors for Optimum Fixed Impedance Matching; (5)Skew Tolerant Up to One Pixel Clock Cycle; (6)4x Over-Sampling; (7)Reduced Power Consumption – 1.8 V Core Operation With 3.3 V I/Os and Supplies2; (8)Reduced Ground Bounce Using Time Staggered Pixel Outputs; (9)Lowest Noise and Best Power Dissipation Using TI PowerPAD? Packaging; (10)Advanced Technology Using TI 0.18-μm EPIC-5 CMOS Process; (11)TFP401A Incorporates HSYNC Jitter Immunity.
Diagrams

| Image | Part No | Mfg | Description | ![]() |
Pricing (USD) |
Quantity | ||||||||||||
|---|---|---|---|---|---|---|---|---|---|---|---|---|---|---|---|---|---|---|
![]() |
![]() TFP401APZP |
![]() Texas Instruments |
![]() Display Interface IC PanelBus DVI Rcvr 165MHz HSYNC fix |
![]() Data Sheet |
![]()
|
|
||||||||||||
![]() |
![]() TFP401APZPG4 |
![]() Texas Instruments |
![]() Display Interface IC PanelBus DVI Rcvr |
![]() Data Sheet |
![]()
|
|
||||||||||||
(China (Mainland))









